SERVICE PHONE

400-9919-580
NEWS 新闻资讯
当前位置:首页>新闻资讯
钙华机械12月份易站通月报

发布时间:2017-12-28    点击量:12

钙华机械12月份易站通月报

百度首页关键词排名


氢氧化钙选粉机P1:3

氢氧化钙设备P1:1

氢氧化钙消化器P2:2

氢氧化钙生产设备P1:6

JDS-氢氧化钙生产线P1:1

石灰选粉设备P1:3

氢氧化钙选粉设备P1:1




TIM图片20171228170236.png


1.jpg易管家概况


2.jpg

流量预估

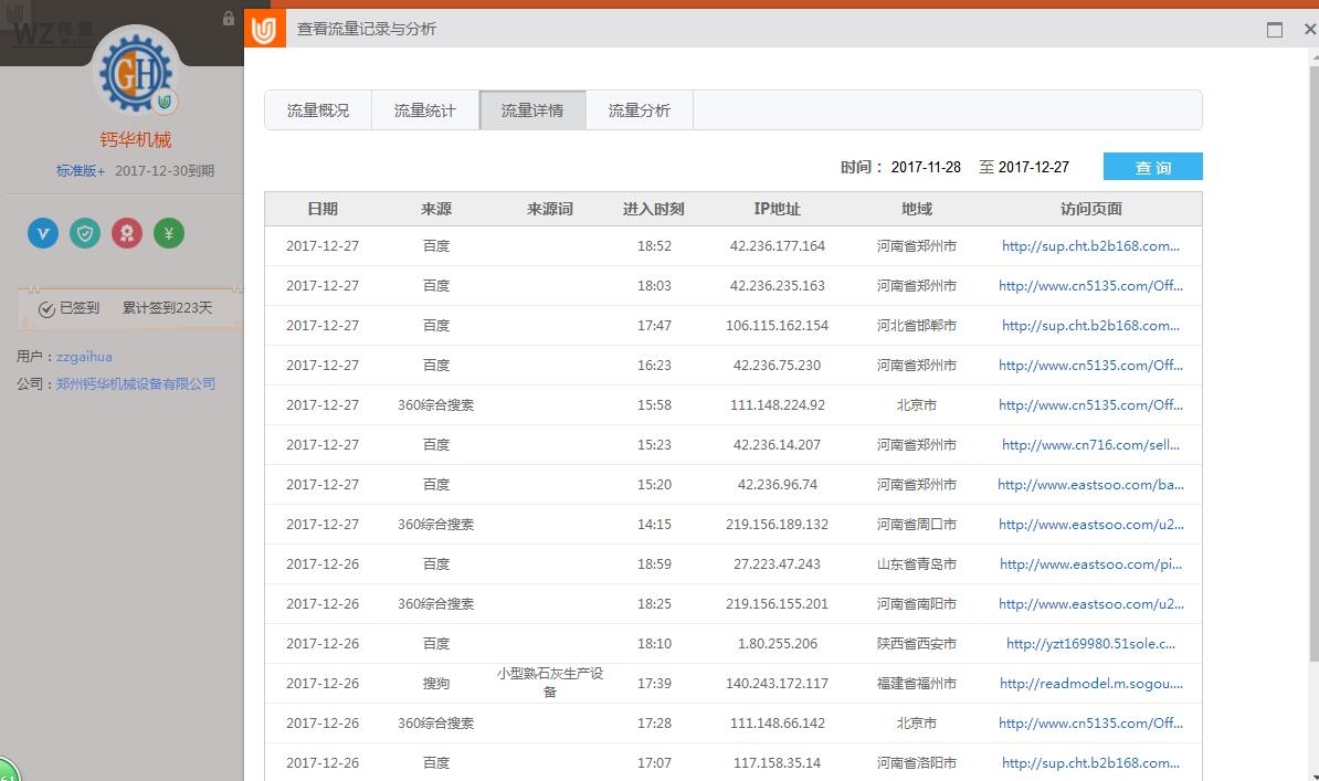
3.jpg

流量详情分析


4.jpg

时间区间流量统计



流量来源与地区分析


地址:二七万达12A楼606 电话:400-9919-580 手机:13526605069 13526605069(值班)百度地图 谷歌地图
版权所有:郑州伟置电子科技有限公司 技术支持:浩方网络[浩方网络] 网站案例 ICP备案编号:豫ICP备16009456号 

豫公网安备 41010302002361号

网站地图(百度 / 谷歌