SERVICE PHONE

400-9919-580
NEWS 新闻资讯
当前位置:首页>新闻资讯
嘉年华1月份易站通月报

发布时间:2018-01-31    点击量:21

嘉年华1月份易站通月报

百度首页关键词排名


碰碰车:百度首页9名

1.jpg

易管家概况



2.jpg


大致关键词排名统计


3.jpg


流量预估


4.jpg


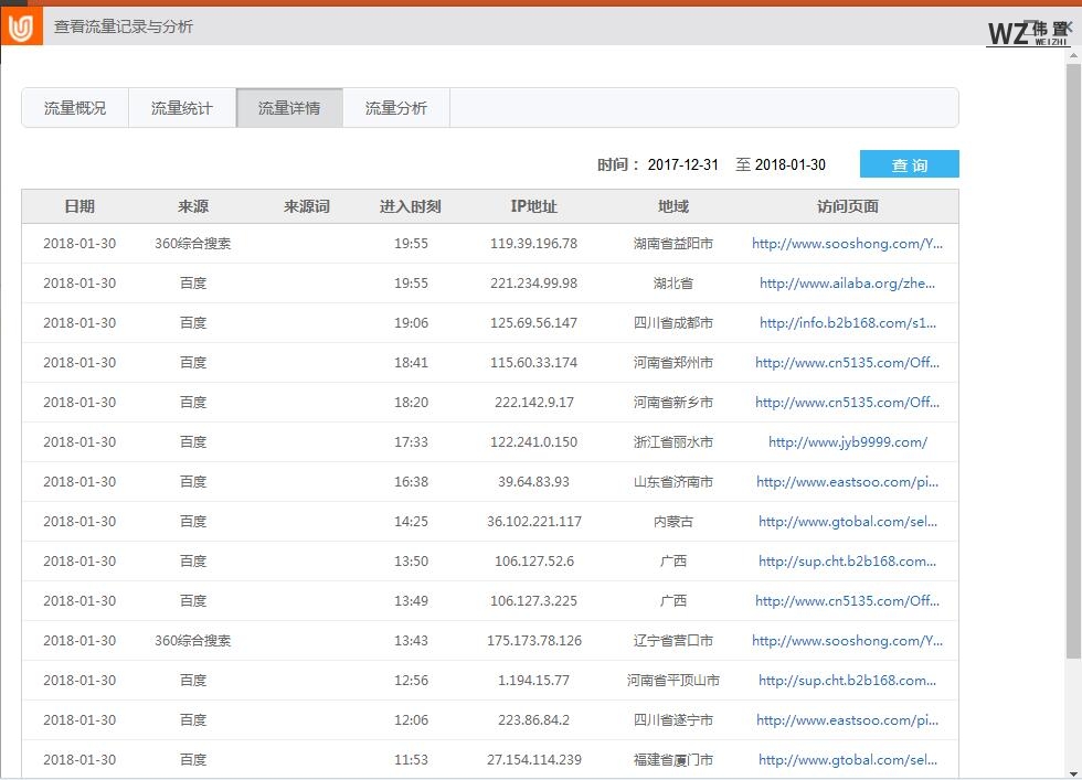
流量详情分析 



5.jpg


时间区间流量统计

6.jpg

流量来源与地区分析


10.jpg

地址:二七万达12A楼606 电话:400-9919-580 手机:13526605069 13526605069(值班)百度地图 谷歌地图
版权所有:郑州伟置电子科技有限公司 技术支持:浩方网络[浩方网络] 网站案例 ICP备案编号:豫ICP备16009456号 

豫公网安备 41010302002361号

网站地图(百度 / 谷歌