SERVICE PHONE

400-9919-580
NEWS 新闻资讯
当前位置:首页>新闻资讯
元盛建材2月份易站通月报

发布时间:2018-02-28    点击量:10

元盛建材2月份易站通月报

百度首页关键词排名

www.bolimian666.com

主关键词:岩棉插口板厂  百度第1

聚氨酯复合板厂家  百度第8名

岩棉插口板厂   百度5名

 1.png

易管家概况



2.png

大致关键词排名统计



3.png

流量预估



4.png


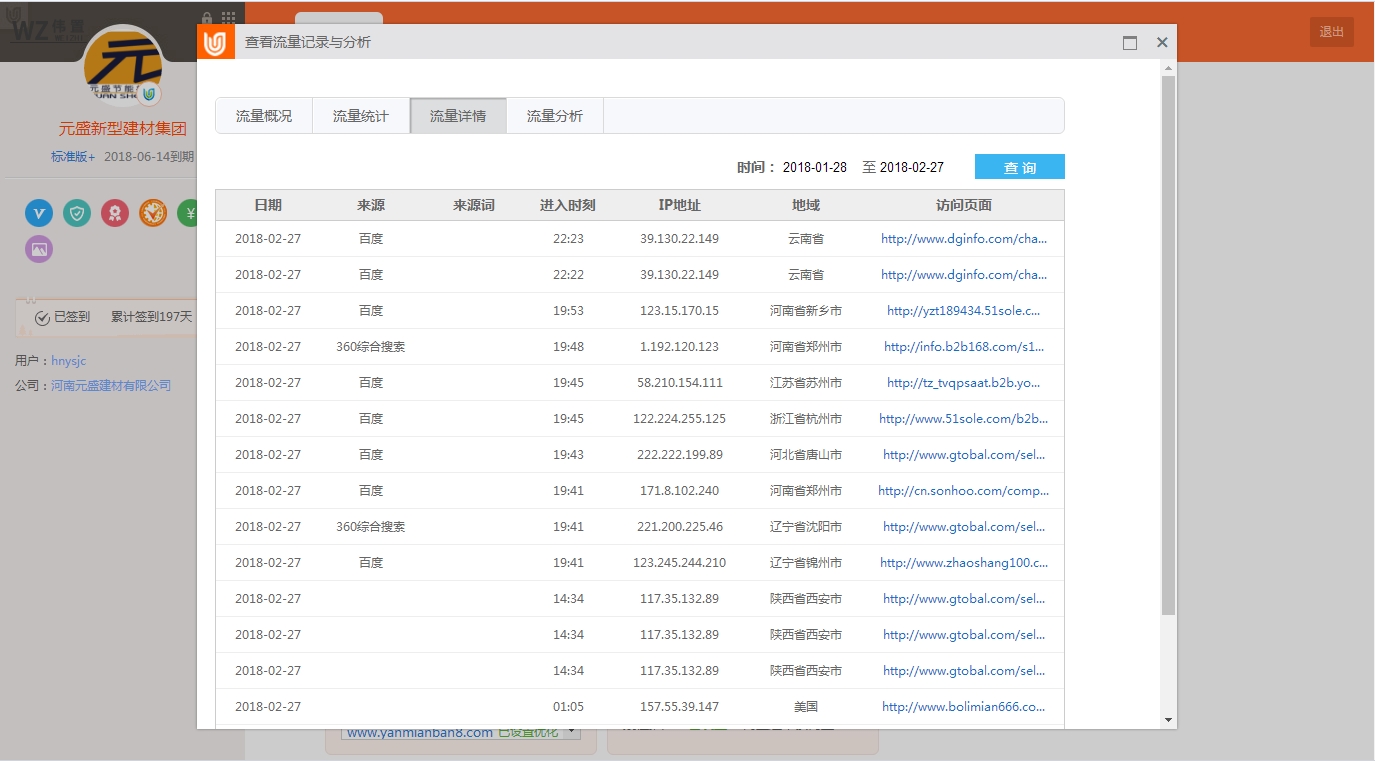
流量详情分析


5.png

时间区间流量统计


6.png

流量来源与地区分析


TIM截图20180228101108.png

TIM截图20180228101715.png

TIM截图20180228101918.png


地址:二七万达12A楼606 电话:400-9919-580 手机:13526605069 13526605069(值班)百度地图 谷歌地图
版权所有:郑州伟置电子科技有限公司 技术支持:浩方网络[浩方网络] 网站案例 ICP备案编号:豫ICP备16009456号 

豫公网安备 41010302002361号

网站地图(百度 / 谷歌