SERVICE PHONE
400-9919-580发布时间:2018-03-29 点击量:10
一、关键词发布总数:
2月份 发布总数18559条
3月份 发布总数20059条
新增发布总数1200条
二、使用综合评估
2月份 综合评估92分
3月份 综合评估92份
三、预估流量情况
2月份 总预估流量11005
3月份 总预估流量11730
四、前三页易站通发布关键词排名情况
2月份 前三页关键词8284
3月份 前三页关键词9671
新增关键词排名1378条
易站通关键词排名情况:

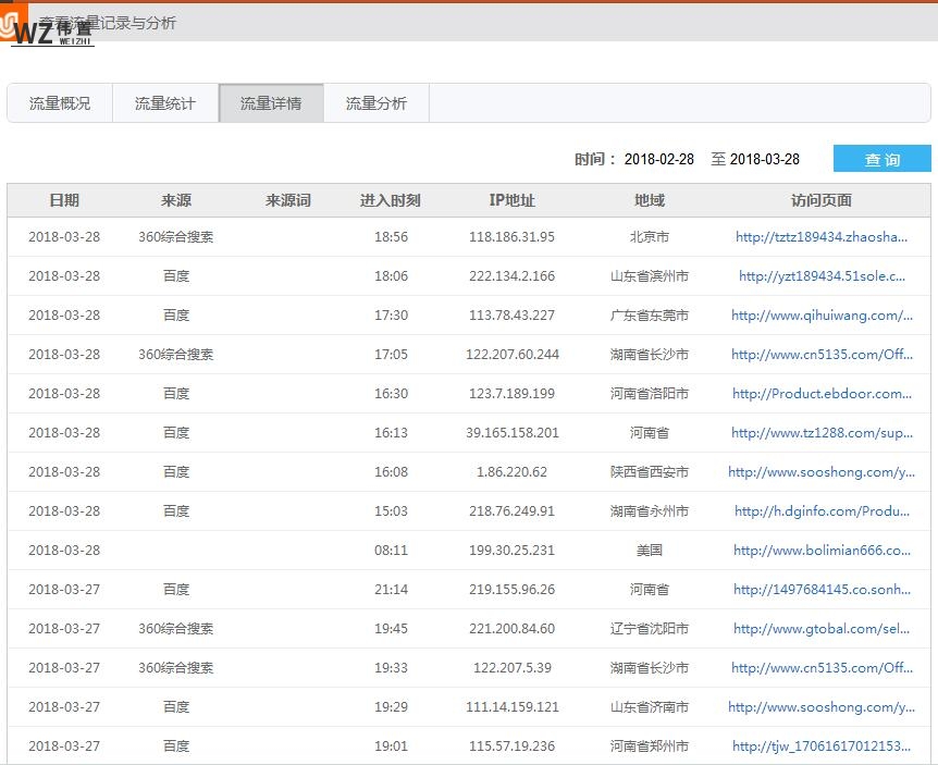
流量详情:

五、网站关键词排名情况
网站 www.bolimian666.com
网站www.juanzhiban8.com

网站www.yanmianban8.com

六、4月份发布计划:
1、商机多发布,原创度多加提高
2、多与客户沟通关键词发布相关事宜
3、争取多上关键词与客户沟通
七、不足之处
1、缺乏与客户沟通
2、原创度需多加提高
八、下步改进
1、多与客户沟通关键词发布内容、标题
2、了解客户基本需求
九、各种长尾关键词排名情况【具体情况详细列表】

【点击此处查看更多关键词排名统计报表】由于篇幅有限,仅截屏展示了一屏,需要看详细效果的朋友请点击下载查看更多更详细的内容
