SERVICE PHONE

400-9919-580
NEWS 新闻资讯
当前位置:首页>新闻资讯
天龙模型6月份月报

发布时间:2018-06-26    点击量:4

一、关键词发布总数:

发布总数8640

TIM截图20180626111016.png

 

二、使用综合评估

综合评估94分

TIM截图20180626111657.png

 

三、预估流量情况

总预估流量2010

 

TIM截图20180626113311.png

 

四、前三页易站通发布关键词排名情况

前三页关键词9740

TIM截图20180626113421.png

易站通关键词排名情况:

TIM截图20180626113618.png

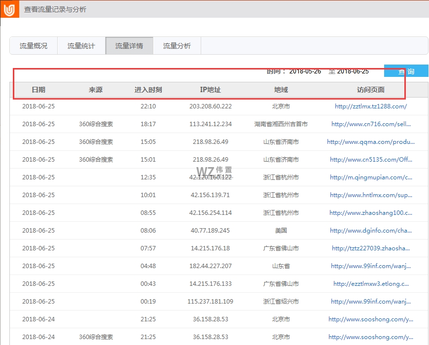
流量详情:

TIM截图20180626113740.png

流量分析

TIM截图20180626113949.png

排名情况分析

TIM截图20180626154548.png

 

点击此处查看更多关键词排名统计报表】由于篇幅有限,仅截屏展示了一屏,需要看详细效果的朋友请点击下载查看更多更详细的内容

 

 

 

地址:二七万达12A楼606 电话:400-9919-580 手机:13526605069 13526605069(值班)百度地图 谷歌地图
版权所有:郑州伟置电子科技有限公司 技术支持:浩方网络[浩方网络] 网站案例 ICP备案编号:豫ICP备16009456号 

豫公网安备 41010302002361号

网站地图(百度 / 谷歌