SERVICE PHONE
400-9919-580发布时间:2018-07-25 点击量:4
一、关键词发布总数:
7月份 发布总数29640条
二、使用综合评估
7月份 综合评估69份
三、预估流量情况
7月份 总预估流量11568
四、前三页易站通发布关键词排名情况
7月份 前三页关键词11941
易站通关键词排名情况:
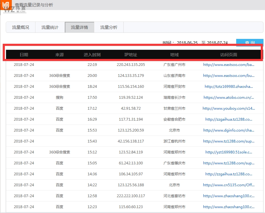
流量详情:
流量分析

五、网站关键词排名情况
网站www.gaihua.cc关键词百度排名情况

zzgaihua.tz1288.com 氢氧化钙消化器 360排名第三位
六、8月份发布计划:
1、商机多发布,原创度多加提高
2、多与客户沟通关键词发布相关事宜
3、争取多上关键词与
七、下步改进
1、多与客户沟通关键词发布内容、标题
2、了解客户基本需求
九、各种长尾关键词排名情况【具体情况详细列表】
【点击此处查看更多关键词排名统计报表】由于篇幅有限,仅截屏展示了一屏,需要看详细效果的朋友请点击下载查看更多更详细的内容
